
文章图片

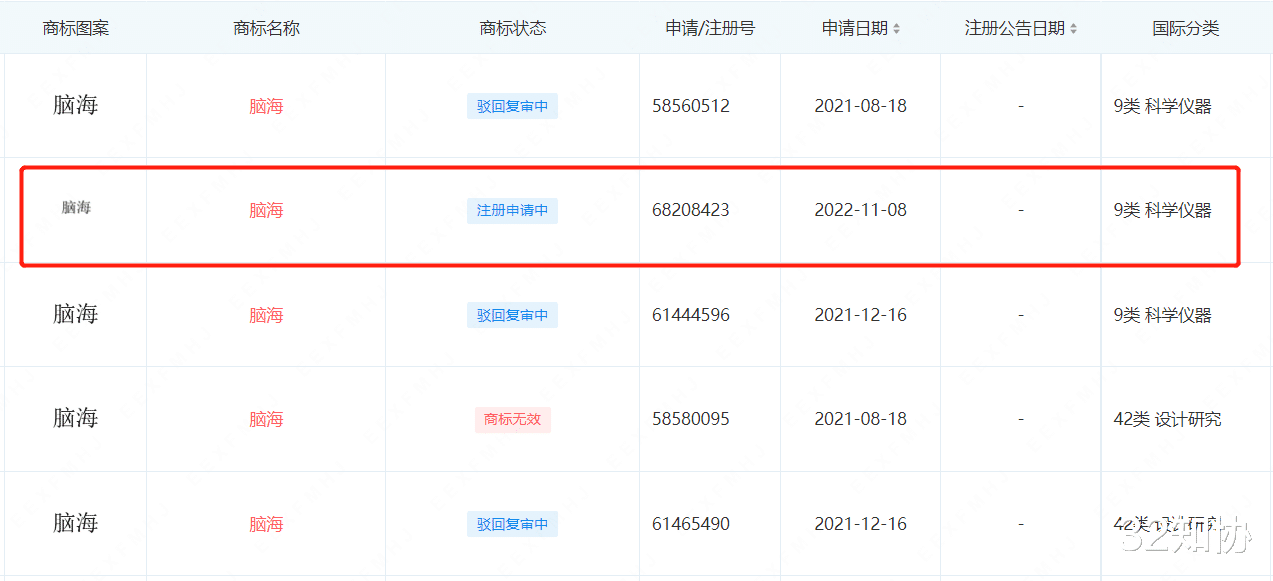
1、华为公司近期提交1件“脑海”商标 , 注册在第9类-科学仪器 。 早在去年8月份开始 , 华为就试图注册“脑海”商标 , 不过未能注册成功 , 被驳回或已经无效 。 有消息称 , 华为正在加速脑机接口领域的探索 。
2、近日 , 由演员白宇持股的重庆松照新雨文化传媒有限公司申请注册多个“白三碗”商标 , 国际分类包括广告销售、食品、酒等 。 据悉 , 白三碗为白宇在综艺《开始推理吧》中饰演的面馆老板名字 。
3、京东旗下北京京邦达贸易有限公司近期申请注册多个“小哥惠选”“小哥汇选”“小哥心选”商标国际分类包括教育娱乐、广告销售 。
4、杭州网易云音乐科技有限公司日前申请注册“城市逃离遍计划”商标 , 分类涉及教育娱乐 , 商标状态处于“申请中” 。
【华为|商标热点丨华为申请“脑海”商标;白宇公司申请“白三碗”】5、近日 , 沪上阿姨关联公司上海臻敬实业有限公司申请注册多个“沪咖”商标 , 国际分类为广告销售、啤酒饮料、方便食品等 。
- 荣耀手机独立出华为后|从3699跌至2059荣耀太猛了
- 苹果|覆盖地区远超华为Mate 50!iPhone 14卫星通信新上线4个国家
- 47 岁从华为退休,操作系统老兵转战 OpenHarmony 生态 | 近匠
- 华为|华为遗憾出局?全球芯片市场大洗牌,麒麟芯片快要“归零”
- 2022杭州智博会热点展品盘点
- 华为荣耀|世界杯广告,海信“弄巧成拙”
- 华为|余承东称华为能帮中国车企把高端品牌做起来:做低端卖爆没有意义
- Java|华为笔记本双12大促开启 智慧体验让办公学习更高效
- 一个手机号码只能注册一个华为账号|如何利用电子邮箱注册自己的华为账号
- 华为|华为智慧屏视频功能大升级:整合B站、爱奇艺等17家视频平台
